4110L
ELECTRIC LOCKING SYSTEM
FOR
GROUPS OF SLIDING CELL DOORS. Maximum security.
Click Here for
Quote Request
Please Click on Captions below to display / hide information:
FUNCTIONS
ELECTRIC -
Individual switches located on a remote control panel operate an electric motor
housed in the horizontal cover box over each door, raising the vertical lock bar
and unlocking the door. Upon unlocking, the door springs open a few inches. All
door movement is by hand at the door, which automatically snap/deadlocks when
moved to the fully closed or fully open position. Individual lamp indicators on
the control panel show locked/unlocked condition. A single switch can provide
group unlocking.
MECHANICAL - In the absence of electrical power, doors may be
individually unlocked with a manual release tool. Door movement is by hand and
door will relock in either fully open or closed position.
EMERGENCY GANG RELEASE - In an emergency, all doors in a cell
line may be simultaneously unlocked from a mechanical release cabinet at the end
of the cell line. While in emergency release mode, doors will not relock in any
position.
STANDARD
FEATURES
- Bottom door guide
- Door hanger
- Mechanical release cabinet
- Screwed on removeable cover panel
- Sloped-front cover box
- Vertical lock bar assembly
OPTIONAL
FEATURES
PILASTER RELEASE
- (In lieu of mechanical release cabinet.) Hip-high paracentric keyed mechanical
release mounted in a full-height pilaster adjacent to the receiving jamb.
Specify “4110LP-1” keyed one side.
ELECTRIC KEYSWITCH Paracentric or mogul keyed local electric
control switch mounted below mechanical release mechanism in pilaster. Specify
“4110LPK-1” for paracentric keyed one side. Specify “4110LPKM-1”
for mogul keyed one side.
ELECTRIC HALF CYCLE - Door will not lock in any position until
it receives relock signal. This function requires the use of a three position
switch. Specify “D.”
HINGED COVER PANELS - Cover panels are provided hinged to the
cover box assembly for maintenance access. Specify “4110LHC.”
NO LOCK OPEN - Specify “NLO.” Door does not lock
in open position.
MOTOR – Specify “24 VDC.”
REMOTE PANEL LOCK SYSTEM Specify “4110LRP.”
FACTORY WIRED CONTROL CABLE Specify “4110LWC.”
THREE HOUR FIRE DOOR RATING - AVAILABLE.
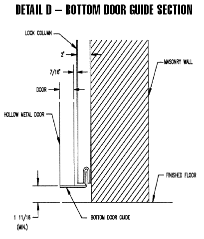
DETAIL D – BOTTOM DOOR GUIDE SECTION
DETAIL C – RECEIVER
COVER BOX SECTION
7-1/8" deep x 1' – 0-3/4" tall cover box field welded 1"
on 8" top and bottom.
RECEIVER JAMB SECTION
DIMENSIONAL
DATA 1

DIMENSIONAL
DATA 2

DIMENSIONAL
DATA 3

DIMENSIONAL
DATA 4

DIMENSIONAL
DATA 5

SPECIFICATIONS
- COVER BOX MATERIAL: 7 gauge steel plate
- REMOVABLE PANEL: 10 gauge steel
- DOOR ROLLERS: 3 diameter, machined steel
with sealed bearings
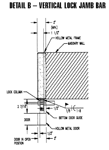
- VERTICAL LOCK BAR DIMENSIONS: 5/8
SQ by full height of door
- FINISH: Prime paint
- DOOR HANGER: 7 gauge steel plate
- ELECTRICAL: Motor: 1/60 HP, 115 VAC, 60 Hz.,
single phase power, .52 amps.
- WIRE REQUIREMENTS: When electric operation
of the door is from a remote station, a minimum of five conductors (minimum 14
gauge) are required between the control point and the door, except for those models
having the letter “K” (keyswitch) in the suffix. Keyswitch models
require minimum six conductors.
|