VIEW CATALOG


PRODUCT SEARCH


QUICK QUESTIONS

Name:
Email(Optional):
State/Region:
Phone:
Product Description
Verification Code:
This Is CAPTCHA Image

To verify content, please enter in the characters in the image above (Case sensitive)

WEIZEL FACTS

Weizel presently serves 1,755 correctional and prison facilities in North America 2006 Incarceration Facts

U.S.A: 2.2 Million inmates in approx. 7,000 facilities.

Canada: 38,000 inmates in approx. 450 facilities

Weizel presently serves 2,454 hospitals in North America


TOOLS & SERVICES

Currency Converter
Form Center
How-To: Request Quote
Pricing Policy



8010L ELECTRIC LOCKING SYSTEMS
FOR GROUPS OF SLIDING CELL DOORS. Maximum security.

Click Here for Quote Request

Please Click on Captions below to display / hide information:

forwardFUNCTIONS

forwardSTANDARD FEATURES

forwardOPTIONAL FEATURES

forwardDIMENSIONAL DATA 1

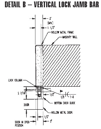
forwardDIMENSIONAL DATA 2

forwardDIMENSIONAL DATA 3

forwardDIMENSIONAL DATA 4

forwardDIMENSIONAL DATA 5

forwardSPECIFICATIONS


GET LOW PRICING ON SOUTHERN STEEL OPERATORS - 8010L
To receive an accurate price quote, please specify the number of operators needed and any other options that apply. Thank you for your interest in our Southern Steel.

Please specify installation type:

Existing Door Installation   New Door Installation
 
Door Opening:
Width: Inches x Height: Inches

Quantity:
.
Specific Information (optional)
If you know the specific model numbers/cylinder size/finish/handing/options and other information for the closers you need, please specify in the box below. Otherwise, we'll help you with the necessary details once we've received the request.

Comments/Questions/Requests
(optional)

CONTACT INFORMATION

Full Name:
Organization:
State / Province:
Other Region:
Country:
Phone:
E-mail:
Verification Code: This Is CAPTCHA Image

To prevent spam, please enter in the characters in the image above (Case sensitive)

The above quote request is sent to our sales department for verification before actual purchase. Once verified, our sales rep will contact you with a total discounted price.